Рисунки для срисовки и не только Папик.Про


изометрия для вырезания из бумаги своими руками


Трафареты изометрии - это инструменты, которые используются для создания изометрических рисунков и дизайнов. Изометрические изображения представляют объекты в трехмерном пространстве с сохранением их формы и пропорций. Такие трафареты доступны в различных вариантах и форматах, позволяя художникам, дизайнерам и архитекторам легко создавать сложные и точные изометрические композиции. Они могут быть выполнены из различных материалов, таких как пластик, металл или дерево, и предлагают широкий выбор геометрических фигур и элементов для использования в проектах. Трафареты изометрии являются удобным инструментом, который помогает экономить время и усилия при создании прекрасных изометрических работ.


Изометрия геометрических фигур
Изометрия геометрических фигур

Фигуры в изометрии
Фигуры в изометрии

Трехмерные фигуры
Трехмерные фигуры

Векторная изометрическая иллюстрация
Векторная изометрическая иллюстрация

Цилиндр в изометрии
Цилиндр в изометрии

Изометрическая сетка Illustrator
Изометрическая сетка Illustrator

Изометрический чертеж
Изометрический чертеж
Скачать
Трехмерная проекция
Трехмерная проекция
Скачать
15 Изометрия
15 Изометрия
Скачать
Сетка для изометрии а4
Сетка для изометрии а4

Мелкая изометрическая сетка а4
Мелкая изометрическая сетка а4
Скачать
Изометрия Графика
Изометрия Графика
Скачать
Чертить объемные фигуры
Чертить объемные фигуры

Диметрия эллипс
Диметрия эллипс
Скачать
Изометрия Illustrator
Изометрия Illustrator
Скачать
Аксонометрическая проекция детали чертеж
Аксонометрическая проекция детали чертеж
Скачать
Инструмент Rectangular Grid Tool (прямоугольная сетка)
Инструмент Rectangular Grid Tool (прямоугольная сетка)
Скачать
Сетка для изометрии а4
Сетка для изометрии а4
Скачать
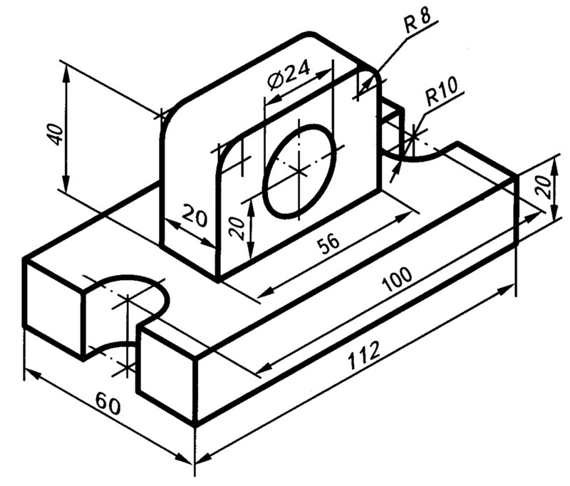
Опора чугун отверстие 24 сквозное чертеж
Опора чугун отверстие 24 сквозное чертеж

Аксонометрическая и изометрическая проекция
Аксонометрическая и изометрическая проекция
Скачать
Изометрическая сетка для проектирования кухни
Изометрическая сетка для проектирования кухни
Скачать
Изометрия сложной фигуры
Изометрия сложной фигуры
Скачать
Аксонометрическая проекция изометрия
Аксонометрическая проекция изометрия

Грузовик вид сбоку-сверху изометрия
Грузовик вид сбоку-сверху изометрия
Скачать
Изометрическая проекция усеченного конуса
Изометрическая проекция усеченного конуса
Скачать
Сетка изометрии 2:1
Сетка изометрии 2:1
Скачать
Сетка для изометрии а4
Сетка для изометрии а4

Изометрические рисунки
Изометрические рисунки
Скачать

Смотрите онлайн или можете скачать на телефон или компьютер в хорошем качестве совешенно бесплатно. Не забывайте оставить комментарий и посмотреть другие фотографии и изображения высокого качества, например таблетки и иероглифы из раздела лучшие


Уважаемый посетитель, Вы зашли на сайт как незарегистрированный пользователь. Мы рекомендуем Вам зарегистрироваться либо зайти на сайт под своим именем.

1 комментарий

Percy 14 апреля 2026 05:42
References:


Online Casino Echtgeld Bonus 2026

References:
https://hedgedoc.eclair.ec-lyon.fr/s/1zbDM9L8R
  • Нравится
  • 0
Ваше имя: *
Ваш e-mail: *
  • Смайлы и люди
    Животные и природа
    Еда и напитки
    Активность
    Путешествия и места
    Предметы
    Символы
    Флаги
Код: Кликните на изображение чтобы обновить код, если он неразборчив
Введите код: