Рисунки для срисовки и не только Папик.Про


токарного станка по дереву для вырезания из бумаги своими руками


Трафареты для токарного станка по дереву - это незаменимый инструмент, который поможет воплотить самые сложные идеи в создании декоративных элементов из дерева. Благодаря точной проработке каждой детали, трафареты позволяют мастеру производить эксклюзивные изделия с высокой степенью детализации и четкостью. Они являются неотъемлемой частью технологии токарного дела и обеспечивают высокую точность и повторяемость при обработке материала. Трафареты для токарного станка по дереву идеально подходят для работы как опытным мастерам, так и начинающим рукодельникам, предоставляя возможность создавать уникальные изделия с минимальными усилиями и максимальным качеством.


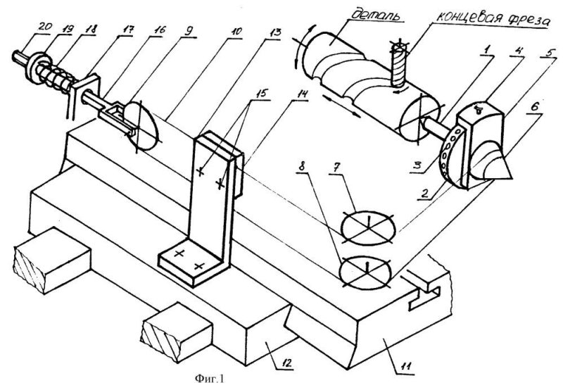
Чертеж копира для токарного станка по дереву
Чертеж копира для токарного станка по дереву

Станок по дереву СТД-120м
Станок по дереву СТД-120м
Скачать
СТД-120м станок токарный по дереву
СТД-120м станок токарный по дереву
Скачать
Чертежи самодельного токарного станка по дереву
Чертежи самодельного токарного станка по дереву

Чертеж копира для токарного станка по дереву
Чертеж копира для токарного станка по дереву
Скачать
Чертежи для точения на токарном станке по дереву
Чертежи для точения на токарном станке по дереву

Приспособления для токарного станка по металлу чертежи
Приспособления для токарного станка по металлу чертежи

Заточка стамески для токарного станка по дереву
Заточка стамески для токарного станка по дереву

Схема токарного станка по дереву
Схема токарного станка по дереву

Токарные стамески по дереву чертёж
Токарные стамески по дереву чертёж

Инструмент резцы для токарного станка по дереву
Инструмент резцы для токарного станка по дереву
Скачать
Корвет 74 токарный станок по дереву схема
Корвет 74 токарный станок по дереву схема
Скачать
Чертеж токарного станка для точения древесины
Чертеж токарного станка для точения древесины

Заточка стамески для токарного станка по дереву
Заточка стамески для токарного станка по дереву

Скачать
Чертеж подручника для токарного станка по дереву
Чертеж подручника для токарного станка по дереву
Скачать
Задняя бабка станка 16к20
Задняя бабка станка 16к20

Устройство токарного станка по дереву чертеж
Устройство токарного станка по дереву чертеж
Скачать
Угол заточки резцов по дереву для токарного станка
Угол заточки резцов по дереву для токарного станка
Скачать
Заточка стамески для токарного станка по дереву
Заточка стамески для токарного станка по дереву
Скачать
Чертеж токарного резца по дереву мейсель
Чертеж токарного резца по дереву мейсель

Чертеж токарного резца по дереву мейсель
Чертеж токарного резца по дереву мейсель
Скачать
Схема токарного станка по дереву 6 класс технология
Схема токарного станка по дереву 6 класс технология
Скачать
Кинематическая схема станка СТД 120м
Кинематическая схема станка СТД 120м
Скачать
Угол заточки стамесок для токарного станка по дереву
Угол заточки стамесок для токарного станка по дереву
Скачать
Токарный станок по дереву чертежи
Токарный станок по дереву чертежи
Скачать
Токарный. Станок. По. Дереву. 19..Века.
Токарный. Станок. По. Дереву. 19..Века.

Чертежи для токарного станка по металлу с ЧПУ
Чертежи для токарного станка по металлу с ЧПУ
Скачать
ТВ-16 токарный станок чертежи
ТВ-16 токарный станок чертежи

Смотрите онлайн или можете скачать на телефон или компьютер в хорошем качестве совешенно бесплатно. Не забывайте оставить комментарий и посмотреть другие фотографии и изображения высокого качества, например тарелки из дерева и фрезера по дереву из раздела дерево


Уважаемый посетитель, Вы зашли на сайт как незарегистрированный пользователь. Мы рекомендуем Вам зарегистрироваться либо зайти на сайт под своим именем.
Ваше имя: *
Ваш e-mail: *
  • Смайлы и люди
    Животные и природа
    Еда и напитки
    Активность
    Путешествия и места
    Предметы
    Символы
    Флаги
Код: Кликните на изображение чтобы обновить код, если он неразборчив
Введите код: